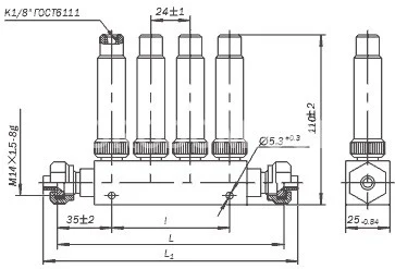
Блок дроссельный БДИ-6
✓ Сертифицированное оборудование
✓ Гарантия надежной эксплуатации
✓ Контроль качества на каждом этапе
✓ Современное оборудование
✓ Быстрая отгрузка
Технические характеристики:
- номинальный расход в отводе 0,63 литров в минуту;
- минимальный расход в отводе 0,035 литров в минуту;
- контролируемый диапазон расхода 0,063...0,63 литров в минуту;
- номинальное давление на входе блока 1,6 МПа (16 бар);
- число отводов 6;
- число подводов 2;
- масса смазочного блока без смазки не более 0,65 кг.


Блоки БДИ2, БДИ4 и БДИ6 применяются в централизованных смазочных системах для отвода от напорной линии, настройки и визуального контроля расхода смазочного материала (минеральных масел),подаваемого к трущимся поверхностям оборудования.
Кинематическая вязкость подаваемого смазочного материала составляет от 17 до 400 мм²/с (сСт) при температуре от 0°С до +50°С. Окружающая среда не относится к взрывоопасной, при этом отсутствуют токопроводящая пыль, агрессивные газы и пары в концентрациях, разрушающих металлы и изоляцию. Температура окружающей среды от 0°С до +40°С, относительная влажность воздуха до 80% при +25°С.
Конструктивно дроссельные блоки БДИ состоят из нескольких модульных одноотводных секций, соединённых шпильками. В модульных секциях размещено устройство для плавной регулировки и индикатор расхода. Расход смазки определяется по положению поплавка, а регулирование осуществляется поворотом трубки.
Климатическое исполнение и категория размещения рассчитаны на умеренный климат (УХЛ4) и тропический (О4.1).
Окружающая среда не взрывоопасная, без токопроводящей пыли, агрессивных газов и паров в концентрациях, разрушающих металлы и изоляцию.