Гидроклапан БГ54-22
✓ Сертифицированное оборудование
✓ Гарантия надежной эксплуатации
✓ Контроль качества на каждом этапе
✓ Современное оборудование
✓ Быстрая отгрузка
Основные параметры клапана:
Диаметр условного прохода - 10 мм
Давление нагнетания ном. - 6,3 МПа
Расход рабочей жидкости ном. - 20 л/мин
Тип монтажа : резьбовое

Предохранительные клапаны являются компонентами контрольно-регулирующего оборудования гидросистем. Их основная функция заключается в ограничении давления рабочей жидкости в гидропроводах, чтобы предотвратить превышение установленного значения и защитить гидросистемы от перегрузки и повреждений. Эти клапаны могут быть установлены в гидроприводах различных машин, включая металообрабатывающее, подземнотранспортное и сельскохозяйственное оборудование.
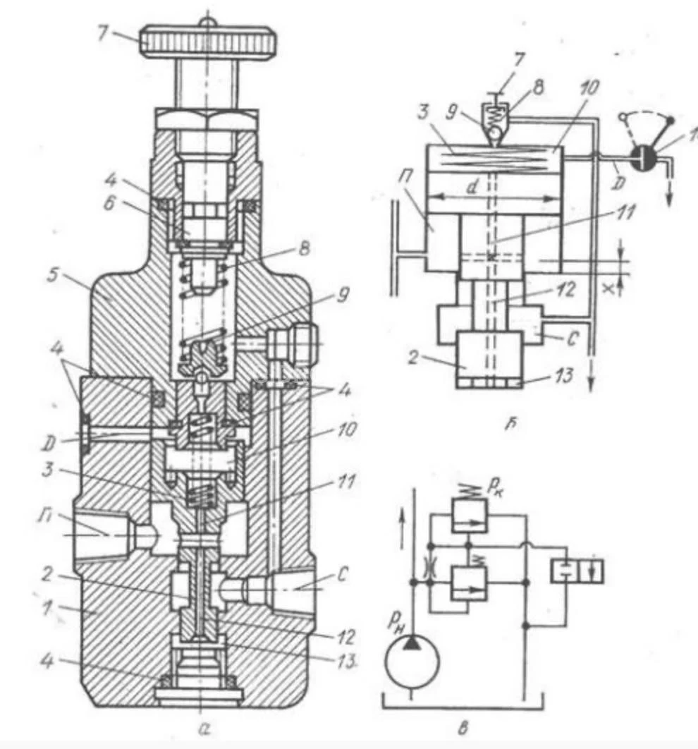
Клапан состоит из корпуса 1, золотника 2, пружины 3, седла 4, корпуса вспомогательного клапана 5, седла 6, пружины 7, клапана 8 и регулировочного винта 9.
Рабочая жидкость от насоса подводится в полость Р входа рабочей жидкости под давлением и через отверстия В, Б и А под торец золотника 2. Одновременно через демпферное отверстие Д жидкость поступает в полость Г и через отверстия Е и Ж — под клапан 8 вспомогательного гидроклапана, который настроен на определенное давление. До тех пор, пока давление в системе, действующее на клапан 8, не превысит усилие настройки пружины 7, гидравлически уравновешенный золотник 2 будет прижиматься пружиной 3 к седлу 4, благодаря чему попости Р входа жидкости под давлением и выхода рабочей жидкости в бак разъеденены. Как только давление в системе повысится сверх установленного настройкой, клапан 8, преодолевая усилие пружины 7, отойдет от седла, и жидкость через отверстия И и К в корпусах 5 и 1 поступит на выход Т. При этом из-за перепада давления на демпферном отверстии Д равновесие , действующих на золотник 2, нарушится, и последний под давлением жидкости сместится вниз, соединяя полость входа Р с полостью выхода Т, что приведет к уменьшению давления в системе.
Перемещение золотника 2 происходит до тех пор, пока силы от давления в полостях Р и А не уравновесят усилие от давления в полости Г и усилие пружины 3, после чего давление в полости Р автоматически поддерживается постоянным. Если давление в гидросистеме окажется ниже давления настройки, клапан 8 под действием пружины 7 закроется. Давление, действующее на золотник 2 с обеих сторон, уравновешивается, и усилием пружины 3 золотник прижимается к седлу 4, разъединяя попости Р и Т. Для настройки используется регулировочный винт 9. Гидрораспределитель 14 прикреплен к корпусу вспомогательного гидроклапана 5. При включенном электромагните 14 золотник 12 под действием пружины 11 соединяет полость Г по каналам Е, Ж, Л, М, И и К с полостью выхода Т, разгружая гидросистему от давления также, как и при отжатии клапана 8 (описано выше). При выключенном электромагните канал Л полностью перекрывается. Клапан можно разгрузить от давления также путем установки вместо пробки 10 крана, соединенного со сливом.
Перед сборкой все детали следует тщательно очистить в бензине или дизельном топливе. В корпусе устанавливается седло, затем вставляется золотник и пружина, после чего закручиваются пробки. Сборка регулирующего клапана выполняется отдельно. В корпус вставляется седло, затем клапан и пружина. Устанавливается "О" кольцо на упор, на регулирующий винт навинчивается гайка, затем устанавливается маховик и крепится винт. Упор соединяется с регулировочным винтом, после чего вся конструкция устанавливается в корпус и фиксируется. Собранный клапан присоединяется к нижнему корпусу с помощью четырех винтов, а затем к нему прикрепляется электромагнитный распределитель. Разборка осуществляется в обратном порядке.
Приемка клапанов производится в соответствии с утвержденными техническими условиями или требованиями, к которым должен прилагаться сертификат качества. Каждый клапан проходит заводские испытания и готов к эксплуатации. Рабочая жидкость должна быть масляной с вязкостью от 10 до 400 мм²/с. Температура рабочей жидкости должна находиться в пределах от 283 до 343 К. Чистота фильтрации должна составлять до 0,025 микрона. Перед началом работы необходимо проверить правильность установки клапана в системе и при необходимости отрегулировать его на заданное давление. Настройка производится квалифицированным специалистом. После настройки рекомендуется провести 7-10 включений с паузами в 15 минут, чтобы проверить качество сборки в местах соединений. В процессе эксплуатации клапанов следует контролировать заданное давление и наличие шумов.
Уход ежедневно проверяйте правильность работы. Следите за возможными утечками.Периодически, каждые 2-3 недели, проверяйте состояние соединений клапанов с плитами и гидролиниями.
Гарантийный срок клапанов составляет 18 месяцев с момента отгрузки с завода или 12 месяцев с момента ввода в эксплуатацию, но не менее 5000 включений при соблюдении инструкций по эксплуатации.