Гидрораспределитель Г61-41
✓ Сертифицированное оборудование
✓ Гарантия надежной эксплуатации
✓ Контроль качества на каждом этапе
✓ Современное оборудование
✓ Быстрая отгрузка
Основные технические данные
Рабочее давление: 6,3МПа
Пропускная способность: 750 см.куб (0,75 л.)
Тип монтажа: встраиваемый
Масса : 0,48 кг
Схема распределения потока рабочей жидкости:

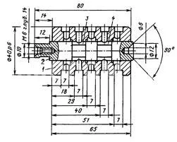
Золотник управления Г61-41 состоит из золотника и гильзы и устанавливается в корпус дросселирующего распределителя. Он используется в следящих системах гидроприводов различных станков. Гидравлические следящие приводы активно применяются в машиностроении как эффективное средство для автоматизации производственных процессов. Золотник Г61-41 нашёл широкое применение в системах гидроприводов для токарных, фрезерных, поперечно-строгальных и других станков и механизмов. Дросселирующие гидрораспределители представляют собой регулирующие аппараты, которые изменяют расход и направление потока рабочей жидкости в нескольких линиях одновременно в зависимости от внешнего управляющего воздействия, как правило, механического или электрического. Модели дросселирующих распределителей типа Г61-41 являются аппаратами встраиваемого исполнения, к качеству основных деталей которых предъявляются строгие требования. Дросселирующий гидрораспределитель Г61-41 включает корпус, гильзу и четырёхкромочный золотник, вставленный в гильзу. Гильза с золотником устанавливается в корпус, имеющий каналы для соединения крайних кольцевых канавок со сливной линией, средней - с напорной, а двух промежуточных - с гидродвигателем.
Золотники Г61-41 для следящих систем применяются в гидроприводах фрезерных, токарных, продольно-строгальных, поперечно-строгальных станков, а также в системах с механическим узлом для сравнения заданных и фактических перемещений. Управляющий золотник состоит из четырёхкромочного золотника и гильзы и представляет собой аппарат встраиваемого исполнения. Гильза содержит центральное отверстие под золотник и три кольцевых канавки. Снаружи к ней примыкают пять канавок, соединённых радиальными отверстиями с внутренними кольцевыми канавками и промежуточными полостями. Гильза с золотником устанавливается изготовителем в корпус дросселирующего распределителя. Каналами в корпусе средняя канавка гильзы соединяется с напорной линией, две крайние - со сливной, а две промежуточные - с камерами гидродвигателя.