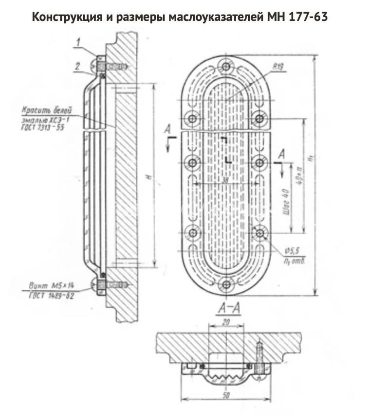
МАСЛОУКАЗАТЕЛЬ 120МН177-63
Оставить отзыв
Есть в наличии
Безопасность и конфиденциальность
✓ Сертифицированное оборудование
✓ Гарантия надежной эксплуатации
Гарантия доставки
✓ Контроль качества на каждом этапе
✓ Современное оборудование
✓ Быстрая отгрузка
Технические характеристики:


Удлинённые маслоуказатели МН 177-63 служат для визуального определения нижнего и верхнего уровней масла в баке при изменении объёма масла, которое вызвано изменениями нагрузки в гидросистеме и температурой окружающей среды. Корпус маслоуказателя МН должен быть прозрачным. Для удобства контроля за уровнем масла на стекло наносят контрольные метки. Маслоуказатели рассчитаны на эксплуатацию при температурах от −30 до +50 °C.