Питатель густой смазки 2-2500-1К Елгава
✓ Сертифицированное оборудование
✓ Гарантия надежной эксплуатации
✓ Контроль качества на каждом этапе
✓ Современное оборудование
✓ Быстрая отгрузка
Технические характеристики:
Номинальная подача , см2/ход : 25
Число отводов , n: 1
Масса, кг.: 4,2
Габариты, мм: 70x50x85


Питатели модели двухлинейной конструкции 2-0200, 2-0500, 2-1000, 2-2500 применяются в централизованных двухлинейных автоматических и ручных системах смазки для периодической (импульсной) подачи смазочного материала к трущимся деталям механизмов и узлов при давлении в магистралях до 20 МПа. Производитель поставляет питатели с боковыми отводами, которые подают смазку при прямом и обратном ходе поршня в один и тот же отвод. В зависимости от объема порции смазки, подаваемой к точке смазки, выпускаются четыре типа в двух вариантах: регулируемые и нерегулируемые.
Питатели серии 2-02XX с метрической резьбой рассчитаны на безрезьбовое соединение маслопроводами через зажимную втулку и уплотнитель из мягкого металла, которые идут в комплекте вместе с питателем; уплотнительные кольца поставляются двумя наборами. Для присоединения питателей серии К к магистралям применяется резьба трубная К 3/8", а к линиям, ведущим к точкам смазки, трубная резьба К 1/4". Оба вида резьбовых отверстий соответствуют ГОСТ 6211—52. При стыковом соединении в корпусе питателей серии М предусмотрены метрические резьбы: М16×1,5 и М12×1,25.
Под названием производительности понимают объем смазки, который подается в каждую точку смазки за один ход поршня, то есть за один цикл работы смазочной установки. Объем подачи поршнем можно регулировать с помощью регулировочных винтов. Окна в корпусах ограничителей по желанию можно закрывать прозрачной ударопрочной пластмассой.
Питатели двухлинейной импульсной подачи для моделей 2-0200, 2-0500, 2-1000, 2-2500 работают по схеме, где за один цикл центральной смазочной станции подача смазки идёт по одной магистрали трубопровода, а в следующем цикле повторяется по другой, параллельной первой (см. схему слева, режимы I и II). Конструкция питателя позволяет смазочному материалу свободно проходить через каналы a и e первого питателя независимо от положения его золотников в последующих звеньях. Чтобы понять принцип работы, рассмотрим дозировку смазки при двух базовых положениях поршня и золотника (обозначения А—А, Б—Б, В—В на рисунке a).
Положение I. Смазка из магистрального трубопровода I заполняет канал a и верхнюю часть цилиндра, создавая давление на золотник 2, который опускается к нижнему положению и открывает наклонный проход b. По нему смазка движется в полость цилиндра и давит сверху на поршень 4, перемещая его к нижней границе. Так завершается первый рабочий цикл питателя.
Положение II. Смазочный материал под давлением поступает через магистральную линию в канал e, заполняет его и цилиндр ж, давит на золотники 2 и поднимает их. Далее он попадает в наклонный канал d и поступает под поршень 4. Давление под поршнем 4 превышает сопротивление внутри цилиндра, поршень начинает двигаться вверх, выталкивая смазку через проход b в межзолотниковое пространство цилиндра ж. В ходе движения поршня смазка выталкивается в горизонтальный канал г и через отверстие z поступает к смазываемой точке. Когда поршень 4 достигнет верхней позиции, подача смазки прекращается. Таким образом завершается второй цикл нагнетания смазки питателями.
Эти два положения подвижных частей импульсного двухлинейного питателя образуют полный рабочий цикл, состоящий из двух этапов. В следующем цикле схема перемещения смазки повторится и смазка заполнит каналы питателей аналогично положению I, за исключением того, что часть цилиндра, находящаяся под поршнем, будет заполнена смазкой уже по завершению предыдущего цикла. Под давлением поршня 4 эта порция смазочного материала через проход d попадает в межзолотниковое пространство цилиндра ж и через канал г и выходное отверстие z поступает к точке смазки.
Давление, развивающееся в верхней или нижней части цилиндра, разделенного поршнем 4, может быть значительным только при отсутствии протечек смазки через неплотности между цилиндром и боковой поверхностью поршня (негерметичность или внутренние утечки). Аналогичное условие требуется учитывать и в отношении золотников 2: не должно происходить протекания через уплотнения и заглушённые отверстия. Поршень и золотник движутся в корпусе под давлением смазки, не превышающим 1,5 Мн/м². Мазевой столбик, высота и площадь основания которого соответствуют ходу золотника 2 и площади сечения цилиндра ж, выдавливается обратно через каналы a и e в магистральные линии в зависимости от того, какая из них в текущем рабочем цикле не является нагнетательной. Если в начале цикла шток 3 опущен и невиден, то в конце цикла он должен подняться до упора в регулировочный винт 1, а в следующем цикле шток снова опустится. Наличие чередующихся положений штока свидетельствует о корректной работе питателя.
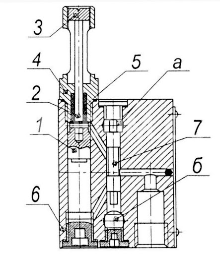
Детали двухлинейных импульсных питателей моделей 2-0200, 2-0500, 2-1000 и 2-2500 показаны на левой схеме. В корпусе 1 каждой поршневой группы питателя имеется шесть отверстий: б, в, г, д, е, з. Из них три отверстия (в, е, з) расположены вертикально, а остальные — горизонтально и наклонно. Канал з на схеме условно изображён по осевым линиям и служит для выхода смазочного материала через трубопровод к смазываемым точкам. Кроме того, в корпусе двухлинейного импульсного питателя независимо от количества точек смазки предусмотрены два отверстия: а и ж для подключения к трубопроводам и два отверстия для крепления питателя к смазочной станции или другому устройству. У сдвоенных двухлинейных импульсных питателей на каждые две поршневые группы приходится один отвод, поэтому два канала г объединяются в один канал з, подающий смазку в трубопровод к смазываемой точке. Следовательно, в указанных питателях на две поршневые группы приходится не двенадцать, а одиннадцать каналов.
Цилиндр со стороны поршня 2 закрывается с одного конца пробкой, а цилиндр золотника — с обоих концов пробками 8. Выходное отверстие канала г, соединяющего цилиндр золотника с каналом з, закрывают штифтом с последующей зачисткой поверхности до уровня корпуса питателя и залива. В ограничителе 4 есть смотровые окна для наблюдения за перемещением штока 3. В питателях всех типов и размеров ограничитель вкручивают прямо в корпус 1 и устанавливают уплотнение 5. При сборке питателя нижний конец ограничителя после установки штока и уплотнения завальцовывают. Объем смазки, подаваемой поршнем, можно регулировать путем подкручивания винтов 6.