Регулятор потока МПГ 55-12
✓ Сертифицированное оборудование
✓ Гарантия надежной эксплуатации
✓ Контроль качества на каждом этапе
✓ Современное оборудование
✓ Быстрая отгрузка
Основные параметры :
Условный проход , мм: 10
Давление ном., МПа: 6,3
Ном. расход на входе, л/мин: 25
Масса, кг: 4

Регуляторы расхода МПГ55-1..М предназначены для поддержания заданной скорости перемещения рабочих элементов гидросистемы независимо от нагрузки и перепада давления в напорной линии.
Регуляторы потока М(А,Б)ПГ55-1М оснащены предохранительным клапаном, ограничивающим давление в рабочей магистрали: 6,3; 10 или 20 МПа в зависимости от исполнения.
Регуляторы потока МПГ 55-12, МПГ 55-14, МПГ 55-15 работают на минеральных маслах с фильтром 25 мкм, вязкостью 10–200 сСт при температуре масла от +10 до +70 °С и температуре окружающей среды от +1 до +40 °С.
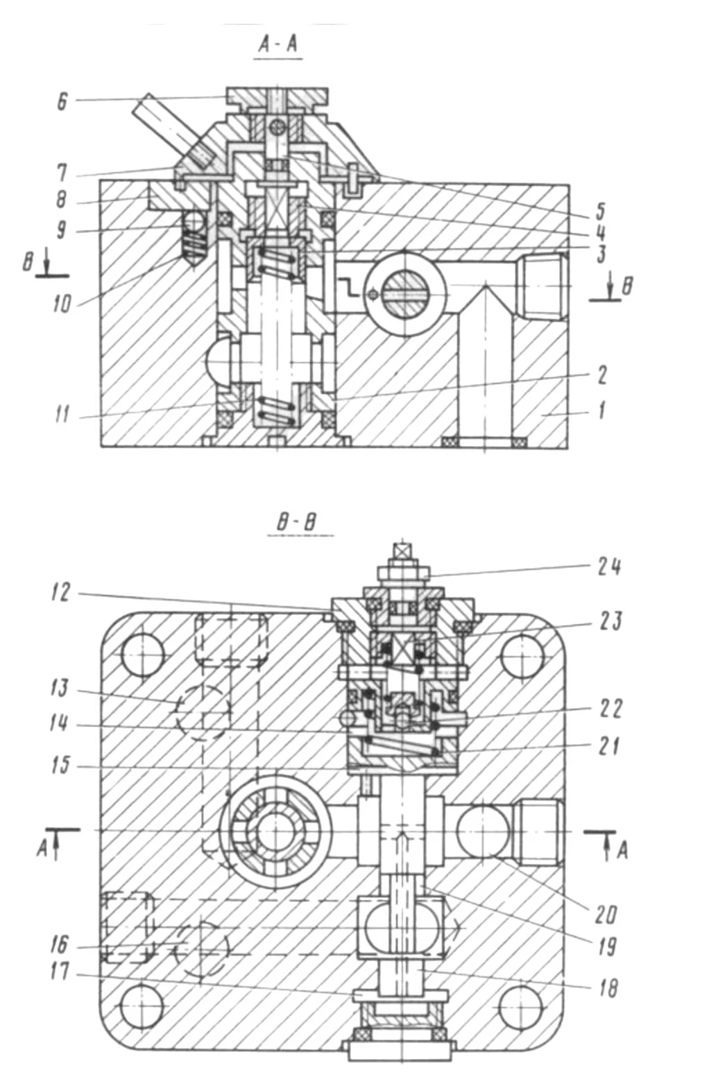
Устройство регулятора потока с предохранительным гидроклапаном
1 — корпус; 2 — втулка; 3 — втулка-дроссель; 4, 6, 12, 24 — гайки; 5 — регулировочный винт; 7 — лимб; 8 — указатель оборотов; 9, 22 — шарики; 10, 11, 21 — пружины; 13 — отверстие отвода; 14, 15, 17 — полости; 16, 19 — отверстия; 18 — золотник; 20 — отверстие подвода; 23 — валик.
Регулятор потока представляет собой сбroke сочетание гидродросселя, редукционного и предохранительного гидроклапанов.
Масло из системы через отверстие подвода 20 поступает к дросселирующей щели втулки 2. Затем жидкость через отверстие во втулке 2 попадает в отверстие отвода 13. Отверстие подвода 20 сообщено с полостями 15 и 17, а отверстие отвода 13 — с остальными элементами.
Золотник 18 находится в равновесии под действием пружины 21 и сил, возникающих от подачи давления в торцевые полости 14, 15 и 17.
При росте давления в отверстии отвода 13 давление в полости 14 увеличивается, что нарушает равновесие сил на золотник. Под воздействием гидростатической силы, создаваемой давлением масла в полости 14, золотник смещается и меняет дросселирование потока, когда вода из напорной магистрали идёт на слив через отверстие 19 (частично перекрытое рабочей кромкой) и отверстие 16. Давление в подводе и полостях 15 и 17 снова возрастает до восстановления равновесия сил на золотник 18. Таким образом, через регулятор поддерживается постоянный перепад давления на дросселирующей щели и автоматически меняется давление нагнетания (в отверстии подвода) при изменении давления в отверстии отвода.
При повышении давления в отверстии отвода выше установленного, шариковый предохранительный гидроклапан 22 открывается, и масло через каналы в корпусе и гайке 12 уходит на слив. Золотник 18 смещается и пропускает жидкость от насоса на слив. Так регулятор не только регулирует поток, но и защищает гидросистему от перегрузок. Настройка предохранительного гидроклапана выполняется вращением валика 23.
При вращении валика по часовой стрелке давление возрастает, при обратном вращении — уменьшается. После установки валик фиксируется гайкой 24.
Поток масла регулируется изменением проходного сечения дросселирующей щели во втулке 2 за счёт осевого перемещения втулки-дросселя 3 посредством гайки 4 в одну сторону и пружины 11 — в противоположную. Гайка 4 поворачивается от лимба 7 через винт 5.
Лимб может поворачиваться на 4 оборота. После каждого оборота лимб с помощью штифта поворачивает указатель оборотов 8 на 1/4 оборота, и он фиксируется шариком 9 и пружиной 10, чтобы предотвратить самопроизвольный поворот. При повороте лимба по часовой стрелке поток масла возрастает, против часовой стрелки — уменьшается. Фиксация лимба осуществляется гайкой 6.
На стыке регулятора потока с панелью вынесено отверстие для дистанционного управления, соединяемое с полостью 14. При необходимости разгрузки системы от давления отверстие дистанционного управления соединяют со сливом, золотник смещается в крайнее положение и пропускает масло от насоса на слив.
Если отверстие дистанционного управления не используется, не следует сверлить отверстие в панели напротив него.
Соединения пробок и корпуса, стыки регулировочного винта и втулки, валика и гайки герметизируются резиновыми уплотнительными кольцами.